Page not found View larger
  • Poulan 2500 online
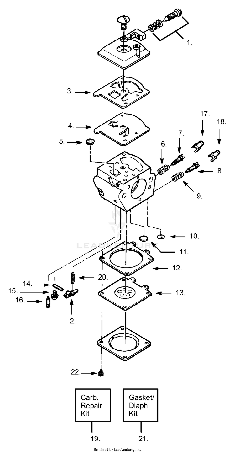
  • Poulan 2500 Gas Saw 2500 p600
  • Poulan 2500 online
  • Amazon Bar Chain Adjuster Tensioner Screw Fit POULAN 2200
  • CHAIN BRAKE CHAINBRAKE KIT POULAN 2200 2500 2600 2750 Randy s

Poulan 2500 online

Poulan 2500 online, Page not found online

$86.00

SAVE 50% OFF

$43.00

- +

Add to wishlist


Frasers Plus

$0 today, followed by 3 monthly payments of $14.33, interest free. Read More


Poulan 2500 online

Page not found

lpumpe f r Husqvarna Poulan Motors ge 2500 2600 2750 2900

Poulan 2500 Gas Saw 2500 p600

IPL 2200 2500 2600 2750 3050 2001 05 CHAIN SAWS Poulan

Amazon Bar Chain Adjuster Tensioner Screw Fit POULAN 2200

CHAIN BRAKE CHAINBRAKE KIT POULAN 2200 2500 2600 2750 Randy s

Description

Product Name: Poulan 2500 online
Poulan chainsaw Farmhand 2500 for Sale in Hickory NC OfferUp online, Poulan 2550 New bar and chain 60 J and M Chainsaws Facebook online, Poulan 2500 Gas Saw 2500 p600 Parts Diagrams online, POULAN 2500 CHAINSAW ENGINE CRADDLE HOUSING CRANKCASE eBay online, Poulan 2500 umm YouTube online, POULAN 2500 CHAINSAW TOP COVER GUARD eBay online, 2 . 2200 2500 2600 online, Poulan chainsaw Farmhand 2500 for Sale in Hickory NC OfferUp online, POULAN 2500 CHAINSAW CARBURETOR CARB online, Amazon TOPREPAIR Carburetor for Poulan Pro PP4620AVX online, Poulan 2500 Gas Saw 2500 p600 Parts Diagrams online, Intake Manifold Sleeve Impulse Tube Kit For Poulan 2500 2600 2200 PP255 Gas Chainsaw 530029814 530053435 online, Poulan Farmhand 2500 Chainsaw Recoil Starter Pulley Replacement How to online, 530069313 2200 2500 2600 2775 online, Chain Adjuster Screw For Poulan 2200 2500 2600 2750 2700 3000 3050 online, guide bar drive 33cm .325 online, 150 368 STENS Starter Pulley Poulan Chainsaw 2200 2500 2750 online, Chainsaw 3 8 Rim Sprocket Kit for Poulan Poulan Pro PP 255 295 online, SEAL RING POULAN 2500 2600 2750 2775 2900 3050 PP295 PP310 online, Campana Embrague 0.325 online, Poulan 2500 Pro Spur Sprocket 530069342 replacement Stens 085 5057 online, Chainsaw clutch pinion gearbox with cage POULAN 295 2500 2600 2750 online, Poulan 18 Guide Bar And Saw Chain Fits 2450 2500 2550 online, POULAN 2500 CHAINSAW CARBURETOR CARB online, Page not found online, lpumpe f r Husqvarna Poulan Motors ge 2500 2600 2750 2900 online, Poulan 2500 Gas Saw 2500 p600 online, IPL 2200 2500 2600 2750 3050 2001 05 CHAIN SAWS Poulan online, Amazon Bar Chain Adjuster Tensioner Screw Fit POULAN 2200 online, CHAIN BRAKE CHAINBRAKE KIT POULAN 2200 2500 2600 2750 Randy s online, Original lpumpe f r Poulan Motors ge 2500 2600 2750 2900 3050 online, Starting pulley POULAN chainsaw 255 295 310 315 2200 2500 530069313 online, poulan 2200 2500 2600 2750 chainsaw cylinder top cover pn 530 online, Carburador Para Walbro Wt 285 Poulan 2500 2600 2750 2775 290 online, PRZEW D IMPULSOWY DO POULAN 2500 PP255 CRAFTSMAN online.

Poulan 2500 online